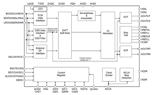
AK4490のアップグレードモデル
関連記事
-
パネルや壁からも音楽再生。オンキヨーが加振器で発音するソリューション提案
2017/08/23
-
オンキヨー、スマホとカーナビ連携「SDL」に参画。SDL対応スマートスピーカーを開発へ
2017/08/15
-
SnapdragonをIoT機器向けに拡販。クアルコムがこれからのIoT戦略を説明
2017/08/24
-
オンキヨー、ノイズを100分の1に抑えたオーディオ用スイッチング電源を開発
2017/08/25
-
クアルコムの先進的デジタルアンプ「DDFA」が第二世代に進化。その詳細をキーマンに聞いた
2017/09/22
-
シャープが緑色半導体レーザー量産開始、小型PJやHMDの光源にも
2017/09/19
-
JDI、4辺ベゼルレス液晶「FULL ACTIVE」をモバイルの軸に。経営課題は「スピード」
2017/09/26
-
JDI、有機EL量産開始報道にコメント
2017/10/04













































