AK4490のアップグレードモデル
オーディオ用DAC「AK4493」が'18年1月出荷開始。最上位AK4497の技術投入で音質向上
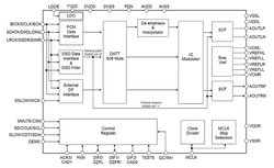
旭化成エレクトロニクス (AKM)は、オーディオDACの新製品として、AK4493EQを2018年1月に販売する。
多くの据え置き機器やポータブルオーディオ機器に使用されている、2014年に発売されたDAC「AK4490」のアップグレード品という位置づけ。768kHzまでのPCM入力に対応するほか、DSDも22.4MHzまでの入力が可能となった。
新たに同社のVELVET SOUNDアーキテクチャを進化させ、回路設計のみならず製造プロセスにまでこだわった、自社オーディオ専用LSIプロセスを採用した。このオーディオ専用プロセスは、同社のフラグシップオーディオDAC「AK4497EQ」と同じもの。また、帯域外ノイズを大幅に抑えるOSRD (Over Sampling Ratio Doubler)技術も採用した。
ダイナミックレンジ、S/Nは123dB(モノモード時126dB)で、歪み特性は-113dBを実現した。AK4490は同120dB(モノモード時120dB)、-112dBだったので、いずれもスペックが向上している。そのほか、サウンドカラーフィルターもAK4490の5種類からAK4493では6種類に増えた。
多くの据え置き機器やポータブルオーディオ機器に使用されている、2014年に発売されたDAC「AK4490」のアップグレード品という位置づけ。768kHzまでのPCM入力に対応するほか、DSDも22.4MHzまでの入力が可能となった。
新たに同社のVELVET SOUNDアーキテクチャを進化させ、回路設計のみならず製造プロセスにまでこだわった、自社オーディオ専用LSIプロセスを採用した。このオーディオ専用プロセスは、同社のフラグシップオーディオDAC「AK4497EQ」と同じもの。また、帯域外ノイズを大幅に抑えるOSRD (Over Sampling Ratio Doubler)技術も採用した。
ダイナミックレンジ、S/Nは123dB(モノモード時126dB)で、歪み特性は-113dBを実現した。AK4490は同120dB(モノモード時120dB)、-112dBだったので、いずれもスペックが向上している。そのほか、サウンドカラーフィルターもAK4490の5種類からAK4493では6種類に増えた。
関連リンク
トピック
















































