光城精工、新型クリーン電源「KATANA25」の詳細を発表

 
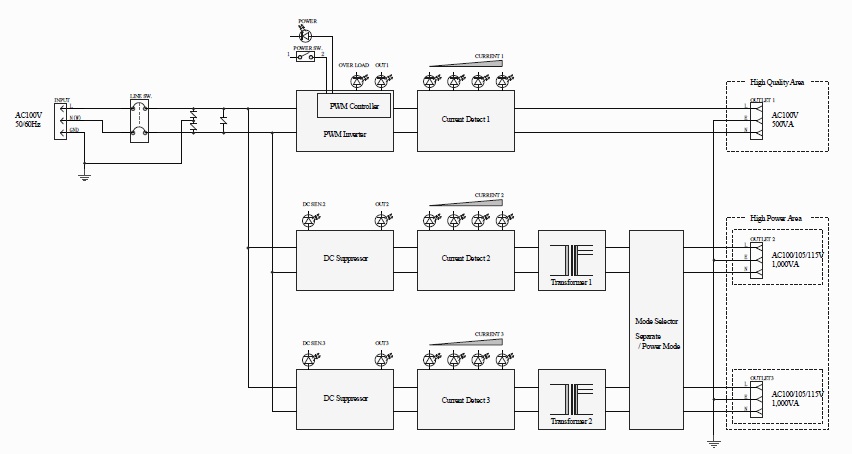
「KATANA25」のブロック図を公開

この記事の画像一覧