ニュース
HOME > ニュース > モバイル/PCニュース
公開日 2022/04/04 11:59
5月のGoogle I/Oで発表の可能性
次期Android 13で「eSIM1つでデュアル回線」実現か。Googleの特許に手がかり【Gadget Gate】
Kiyoshi Tane
Googleの年次開発者会議「Google I/O」が5月11 - 12日に迫るなか、1つのeSIMで複数の通信キャリアに繋げる新機能が追加される可能性が浮上している。
eSIMとは、スマートフォン本体にあらかじめ内蔵されたSIMのこと。物理的なSIM(カード型)を抜き差しする必要がないため通信キャリアの乗り換えも簡単なほか、「本体の開口部分が減る」ことで端末の防水性能も高めやすく、最近のiPhone(12以降)でも定着しているしくみだ。
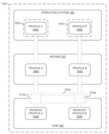
基本的にeSIMも物理SIMと同じく、「一度に1つの通信回線だけに繋ぐ」ことが大原則だ。しかし、Googleはこの制限を突破できる可能性のある技術「MEP(複数有効プロファイル)」なる特許を取得しており、しかもAndroid 13に組み込もうとしている手がかりが見つかった。
このMEPは、1つのeSIMで複数の有効なSIMプロファイルを可能にするために「複数有効プロファイル」を使っている。つまり、1つのeSIMで2つの異なるキャリアへ同時に接続できるというわけだ。
GoogleのMEP方式が興味深いのは、すべてがソフトウェアレベルで実現される=追加ハードウェアを必要とせず、eSIMが1つだけの現行モデルでも使えるかもしれないということ。さらにAndroid 13 Developer Preview 2(開発者向けプレビュー版)には、複数のMEP APIが含まれているそうだ。
さらに注目すべきは、MEPがAndroid 13に限らず実装できるかもしれない、ということだ。Googleは特許出願でiOSやmacOS、Windowsにも言及している。すなわちGoogleがアップルやマイクロソフトにライセンス供与し、「1つのeSIMで2つのキャリア回線」のスマートフォンやPCが広がるかもしれない可能性が秘められている。
Source:USPTO, Esper
via:AndroidPolice
※テック/ガジェット系メディア「Gadget Gate」を近日中にローンチ予定です。本稿は、そのプレバージョンの記事として掲載しています。
eSIMとは、スマートフォン本体にあらかじめ内蔵されたSIMのこと。物理的なSIM(カード型)を抜き差しする必要がないため通信キャリアの乗り換えも簡単なほか、「本体の開口部分が減る」ことで端末の防水性能も高めやすく、最近のiPhone(12以降)でも定着しているしくみだ。
基本的にeSIMも物理SIMと同じく、「一度に1つの通信回線だけに繋ぐ」ことが大原則だ。しかし、Googleはこの制限を突破できる可能性のある技術「MEP(複数有効プロファイル)」なる特許を取得しており、しかもAndroid 13に組み込もうとしている手がかりが見つかった。
このMEPは、1つのeSIMで複数の有効なSIMプロファイルを可能にするために「複数有効プロファイル」を使っている。つまり、1つのeSIMで2つの異なるキャリアへ同時に接続できるというわけだ。
GoogleのMEP方式が興味深いのは、すべてがソフトウェアレベルで実現される=追加ハードウェアを必要とせず、eSIMが1つだけの現行モデルでも使えるかもしれないということ。さらにAndroid 13 Developer Preview 2(開発者向けプレビュー版)には、複数のMEP APIが含まれているそうだ。
さらに注目すべきは、MEPがAndroid 13に限らず実装できるかもしれない、ということだ。Googleは特許出願でiOSやmacOS、Windowsにも言及している。すなわちGoogleがアップルやマイクロソフトにライセンス供与し、「1つのeSIMで2つのキャリア回線」のスマートフォンやPCが広がるかもしれない可能性が秘められている。
Source:USPTO, Esper
via:AndroidPolice
※テック/ガジェット系メディア「Gadget Gate」を近日中にローンチ予定です。本稿は、そのプレバージョンの記事として掲載しています。