IPv6によりLANケーブル直結でも動作
新オーディオ伝送技術「Diretta」はなぜ音がいいのか。技術詳細やUPnPとの違いを解説<前編>
すでにハイエンドオーディオやネットワークオーディオの領域で話題になっている新しいオーディオ伝送技術「Diretta」。IPv6を使用し、音楽信号をLANネットワーク経由で伝送するための通信プロトコルで、音質と利便性の両面で大きな可能性を秘めている。海上忍氏がDirettaの技術の詳細とその利点を、2回にわたって解説する。
■新しいオーディオ伝送技術「Diretta」とは
オーディオ機器間における情報の伝達では、「信号」の種類が決定的に作用する。有線か無線かを問わず、アナログ方式の場合は音の波形そのものを、デジタル方式の場合は0か1かの信号を送るしくみだが、実際には周波数変調や符号化などの処理を伴うため、最終的な音質は通信規約(プロトコル)や伝送手法に左右されることになる。
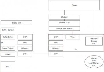
本稿のテーマである「Diretta」は、そのプロトコルと伝送手法に着目して開発された新しいオーディオ伝送技術だ。同技術を採用したオーディオデバイスはLAN DAC(ランダック)やネットワークDACと呼ばれることもあるが、それは「LANケーブルでPCとつなげばDACとして機能する」ためで、USB-DACを置き換え可能なことからも感覚的に理解しやすい。
LANを利用したオーディオ再生は、すでにDLNAやOpenHomeといったUPnPベースの技術が存在するが、Direttaはこれらとまったく異なる技術だ。UPnPはUDP(ストリーミングやVoIPに用いられるプロトコル)で機器間の接続を確立したあとは、汎用的なプロトコルであるHTTPを利用してデータの送受信を行う。DLNA/OpenHomeの基礎であるUPnPでは、コンテンツ送受信の手段を具体的に定義していないため、既存技術の中でもっとも相互運用性の高いHTTPが選択されたのだろう。
ここで注目したいのが、トランスポートの部分。HTTPでは、1つの処理にサーバがかかりきりになるような事態を避けるべくフロー制御を行うが、ピュアオーディオ的観点からはベストといえない。データを定間隔で搬送することが難しくなるからだ(後述)。
UPnPがIPv4ネットワークでの利用を前提にした技術であることにも留意しておきたい。従来LANで利用されてきたネットワークは「IPv4」が前提であり、機器ごとに必須のIPアドレスはDHCPサーバを使うなどして割り当て処理を行ってきた。UPnP/IPv4の場合、IPブロードキャストという方法で(LANにあるUPnP対応機器の)検出とIPアドレスの割り当てを行うが、見方を変えればルータやハブの設定如何では通信できないことを意味する。ネットワークに起因するトラブルが厄介なことは、ネットオーディオ経験者であればよく知るところだろう。
DirettaもUDPを利用するところまでは同じだが、そもそもの発想が異なる。"IPネットワークありき"ではなく、どの環境でも動作可能な汎用性とソフトウェア制御が担保され、あわせて完全なタイミングコントロールが可能なこと、高応答性のためにもできるだけ(OSI参照モデルでいうところの)下位レイヤーに近いこと…と条件を並べたとき、UDP/IPが選択肢として残ったという考え方だ。
IPv6の利用を必須にしたことには、明確な理由がある。IPv6はアドレスが長く他の機器と重複することもほぼないため、ルータが設置されていない環境やLANケーブルで直結してもそのまま動作する ーー IPv4ネットワークのようにIPアドレスの割り当てやDHCPサーバの設定を考慮する必要がない ーー という利点があるのだ。さらに、ヘッダが40バイトの固定長でルータの処理が単純となるため、20〜60バイトの可変長で処理が複雑になるIPv4に比べ転送効率がいい。今後FPGAなどチップに実装するときにも好都合なうえに、処理が単純になれば音質にもプラスに作用するはず、という発想だ。
■データを一定かつ短い間隔で搬送し"平均化"することでノイズ低減を図る
データを一定かつ短い間隔で搬送し"平均化"することも、Direttaの特長といえる。HTTPを利用してデータを搬送するDLNA/UPnPの場合、ファイルの一部分を取得するためには煩雑な手続きを伴うが(レンジリクエスト)、Direttaの処理はシンプルで高速。業務用音響機器のAudio over IP技術として普及しているAES67のように、多数の機器を同期する処理も必要ない。USBのアシンクロナス転送と比較しても、バッファやデータフローの調整を行わないという点でよりシンプルだ。
■新しいオーディオ伝送技術「Diretta」とは
オーディオ機器間における情報の伝達では、「信号」の種類が決定的に作用する。有線か無線かを問わず、アナログ方式の場合は音の波形そのものを、デジタル方式の場合は0か1かの信号を送るしくみだが、実際には周波数変調や符号化などの処理を伴うため、最終的な音質は通信規約(プロトコル)や伝送手法に左右されることになる。
本稿のテーマである「Diretta」は、そのプロトコルと伝送手法に着目して開発された新しいオーディオ伝送技術だ。同技術を採用したオーディオデバイスはLAN DAC(ランダック)やネットワークDACと呼ばれることもあるが、それは「LANケーブルでPCとつなげばDACとして機能する」ためで、USB-DACを置き換え可能なことからも感覚的に理解しやすい。
LANを利用したオーディオ再生は、すでにDLNAやOpenHomeといったUPnPベースの技術が存在するが、Direttaはこれらとまったく異なる技術だ。UPnPはUDP(ストリーミングやVoIPに用いられるプロトコル)で機器間の接続を確立したあとは、汎用的なプロトコルであるHTTPを利用してデータの送受信を行う。DLNA/OpenHomeの基礎であるUPnPでは、コンテンツ送受信の手段を具体的に定義していないため、既存技術の中でもっとも相互運用性の高いHTTPが選択されたのだろう。
ここで注目したいのが、トランスポートの部分。HTTPでは、1つの処理にサーバがかかりきりになるような事態を避けるべくフロー制御を行うが、ピュアオーディオ的観点からはベストといえない。データを定間隔で搬送することが難しくなるからだ(後述)。
UPnPがIPv4ネットワークでの利用を前提にした技術であることにも留意しておきたい。従来LANで利用されてきたネットワークは「IPv4」が前提であり、機器ごとに必須のIPアドレスはDHCPサーバを使うなどして割り当て処理を行ってきた。UPnP/IPv4の場合、IPブロードキャストという方法で(LANにあるUPnP対応機器の)検出とIPアドレスの割り当てを行うが、見方を変えればルータやハブの設定如何では通信できないことを意味する。ネットワークに起因するトラブルが厄介なことは、ネットオーディオ経験者であればよく知るところだろう。
DirettaもUDPを利用するところまでは同じだが、そもそもの発想が異なる。"IPネットワークありき"ではなく、どの環境でも動作可能な汎用性とソフトウェア制御が担保され、あわせて完全なタイミングコントロールが可能なこと、高応答性のためにもできるだけ(OSI参照モデルでいうところの)下位レイヤーに近いこと…と条件を並べたとき、UDP/IPが選択肢として残ったという考え方だ。
IPv6の利用を必須にしたことには、明確な理由がある。IPv6はアドレスが長く他の機器と重複することもほぼないため、ルータが設置されていない環境やLANケーブルで直結してもそのまま動作する ーー IPv4ネットワークのようにIPアドレスの割り当てやDHCPサーバの設定を考慮する必要がない ーー という利点があるのだ。さらに、ヘッダが40バイトの固定長でルータの処理が単純となるため、20〜60バイトの可変長で処理が複雑になるIPv4に比べ転送効率がいい。今後FPGAなどチップに実装するときにも好都合なうえに、処理が単純になれば音質にもプラスに作用するはず、という発想だ。
■データを一定かつ短い間隔で搬送し"平均化"することでノイズ低減を図る
データを一定かつ短い間隔で搬送し"平均化"することも、Direttaの特長といえる。HTTPを利用してデータを搬送するDLNA/UPnPの場合、ファイルの一部分を取得するためには煩雑な手続きを伴うが(レンジリクエスト)、Direttaの処理はシンプルで高速。業務用音響機器のAudio over IP技術として普及しているAES67のように、多数の機器を同期する処理も必要ない。USBのアシンクロナス転送と比較しても、バッファやデータフローの調整を行わないという点でよりシンプルだ。
