ニュース
モバイル/PC バックナンバー
2022年05月17日の更新情報
ニュース
Google、約90万本の古いAndroidアプリをPlayストアで非表示にしたとの調査結果【Gadget Gate】
ニュース
Poly、騒音を低減してクリアな通話が可能なUSBスピーカーフォン「Sync 10」
ニュース
NVIDIAの次期フラグシップGPU「RTX 4090」は7月中旬発表か。3090の2倍高速とのうわさも【Gadget Gate】
コラム
リサイクル専用ロボや素材まで自社開発。アップル幹部に聞く環境対策への徹底ぶり
ニュース
au、基本使用料1,265円/月の「ケータイプラン」。4G LTEケータイのプランを一本化
ニュース
アップル、macOS Monterey 12.4 提供開始。「Studio Display」カメラ画質改善
ニュース
アップル、Apple Watch向け「watchOS 8.6」無償提供開始
ニュース
アップル、iOS 15.5/iPadOS 15.5を提供開始。機能改善やバグ修正
2022年05月16日の更新情報
ニュース
次期「iOS 16」では新たなインタラクティブ操作や新規アプリが追加されるウワサ【Gadget Gate】
ニュース
任天堂の新型ゲーム機、2024年に発売? 最新の出荷予測からアナリストが予想【Gadget Gate】
ニュース
LightningからUSB-Cへの移行、AirPodsなどアクセサリーも対象か【Gadget Gate】
ニュース
メタバースは「荒らしの温床」に?元アップル技術者が否定的な見解【Gadget Gate】
2022年05月15日の更新情報
ニュース
数年の捜索で発見、史上初「女性主人公」家庭用ゲームを作った女性開発者【Gadget Gate】
ニュース
Joshin「なくなり次第終了」処分セール、Apple Watchも激安。すでに完売品も
ニュース
Amazonで最大10%ポイント還元実施中。Fire HDタブレットも26%OFF!
2022年05月14日の更新情報
ニュース
アップルがUSB-C搭載iPhoneをテスト中とのウワサ【Gadget Gate】
2022年05月13日の更新情報
ニュース
楽天モバイルが「1GBまで0円」廃止。3GBまで1,078円の新プランを7月から提供
ニュース
中国のロックダウンが「MacBook Pro」製造を直撃。7月まで品不足の見込み【Gadget Gate】
2022年05月12日の更新情報
ニュース
ジョニー・アイブ氏が語るApple Watch開発の裏側。ニューソン氏の助けで完成へ【Gadget Gate】
ニュース
Googleのハイエンドスマホ「Pixel 7」秋に発売決定。「Pixel Tablet」は2023年に発売予定
ニュース
Googleマップの3D表示、AIでさらにリアルに。新機能「Immersive View」が発表【Gadget Gate】
ニュース
次の「iPhone 14 Pro」は画面が少し広くなる? ノッチからパンチホールへの変更により【Gadget Gate】
ニュース
Google、ウワサのスマートウォッチ「Pixel Watch」を発表。Pixel 7とともに今秋発売【Gadget Gate】
ニュース
来年の「iPhone 15」はついにUSB-C採用か。有名アナリストがLightning廃止を予測【Gadget Gate】
ニュース
Google、5Gスマホ「Pixel 6a」発表。Tensor搭載で5万円台
コラム
国内スマホメーカーの生き残り、最上位だけでなくローエンドがますます重要になる理由
2022年05月11日の更新情報
ニュース
「Apple Trade In」の最大下取り額増額キャンペーン。5/31まで
ニュース
世界初のUSB-C版AirPods、iPhoneをUSB-C化させたエンジニアが制作【Gadget Gate】
ニュース
ソニー、最上位スマホの新モデル「Xperia 1 IV」。世界初望遠ズームレンズ、画質や音質も強化
ニュース
ソニー、5,000mAhバッテリーで最軽量161gの5G対応スマートフォン「Xperia 10 IV」
ニュース
ソニー、コンパクトで“長く使える設計”の5Gスマホ「Xperia Ace III」。4,500mAhバッテリー搭載
ニュース
将来の折りたたみiPhoneにも採用?アップルが「薄型有機ELパネル」開発を始めたとの噂【Gadget Gate】
ニュース
トランプ元大統領のTwitter追放、「撤回する」とイーロン・マスク氏【Gadget Gate】
コラム
iPodロスの方へ、Apple Watchを音楽プレーヤーに使うのがおすすめ
ニュース
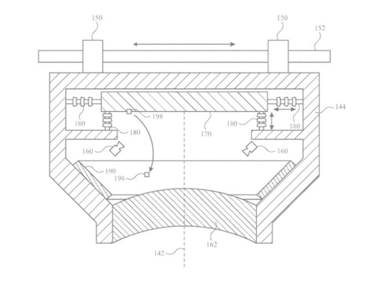
「アップルARメガネ」はレンズ上のゴミを自動的に掃除? 新たな特許が取得される【Gadget Gate】
ニュース
サムスン次期スマホ「Galaxy S23 Ultra」、2億画素のカメラセンサーを搭載か【Gadget Gate】
2022年05月10日の更新情報
ニュース
WebXR APIをサポートしないSafari。アップルがAR業界進歩の足かせになっているとの声【Gadget Gate】
ニュース
iPhoneの原型。iPodと電話の融合「iPod Phone」を元アップル技術者が公開【Gadget Gate】
ニュース
















