新機能の追加に期待
アップルがスタイラス関連特許を更新、Apple Pencilでのスワイプ操作も可能に?【Gadget Gate】
アップルが将来のApple Pencilに関連する可能性がある、スタイラスに関する特許を更新していたことが、海外テックサイト Apple Insiderによって伝えられている。特許にはスワイプ操作に関する記述もあり、興味深い内容となっている。
Apple PencilはiPadシリーズ向けのスタイラスペンで、2015年に初代モデルが登場した。傾きと圧力を検知するセンサーの搭載やラグ(遅延)を抑えた動作が特徴で、2018年に登場した「Apple Pencil(第2世代)」ではダブルタップによるツール切り替えや、マグネットによるiPadへの装着、ワイヤレス充電機能などが追加された。
今回USPTO(米特許商標庁)により認可された特許「スタイラス向けのタッチベース入力(Touch-based input for stylus)」は、2020年に一度認可された後、今年に入って一部内容が更新されたものだ。
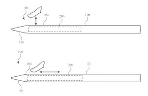
特許内容で特に目を引くのが、スタイラスの先側にセンサーを内蔵し、スワイプなどの指先の動作を読み取るというもの。これをどう使うかは書かれていないものの、たとえば、これによってペン先の太さを変える、あるいはスクロールするなどのアクションへの対応が可能となるかもしれない。
アップルによる過去の特許出願を参考にすると、同社はApple Pencilの機能改善を以前から計画しているようだ。2015年と2019年には、触覚フィードバックによって、実際に紙などに書いているような感覚を再現する特許を取得している。
Apple Pencil(第2世代)の登場から3年以上が経過していることを考えると、そろそろ新モデルが登場してもおかしくないタイミングだ。アップルの特許文章に記述されているスワイプ操作や触覚フィードバックなど、新機能の追加に期待したいものだ。
Source: USPTO
via: Apple Insider
※テック/ガジェット系メディア「Gadget Gate」を近日中にローンチ予定です。本稿は、そのプレバージョンの記事として掲載しています。
Apple PencilはiPadシリーズ向けのスタイラスペンで、2015年に初代モデルが登場した。傾きと圧力を検知するセンサーの搭載やラグ(遅延)を抑えた動作が特徴で、2018年に登場した「Apple Pencil(第2世代)」ではダブルタップによるツール切り替えや、マグネットによるiPadへの装着、ワイヤレス充電機能などが追加された。
今回USPTO(米特許商標庁)により認可された特許「スタイラス向けのタッチベース入力(Touch-based input for stylus)」は、2020年に一度認可された後、今年に入って一部内容が更新されたものだ。
特許内容で特に目を引くのが、スタイラスの先側にセンサーを内蔵し、スワイプなどの指先の動作を読み取るというもの。これをどう使うかは書かれていないものの、たとえば、これによってペン先の太さを変える、あるいはスクロールするなどのアクションへの対応が可能となるかもしれない。
アップルによる過去の特許出願を参考にすると、同社はApple Pencilの機能改善を以前から計画しているようだ。2015年と2019年には、触覚フィードバックによって、実際に紙などに書いているような感覚を再現する特許を取得している。
Apple Pencil(第2世代)の登場から3年以上が経過していることを考えると、そろそろ新モデルが登場してもおかしくないタイミングだ。アップルの特許文章に記述されているスワイプ操作や触覚フィードバックなど、新機能の追加に期待したいものだ。
Source: USPTO
via: Apple Insider
※テック/ガジェット系メディア「Gadget Gate」を近日中にローンチ予定です。本稿は、そのプレバージョンの記事として掲載しています。




