振動によってホコリを視界の外に除去
「アップルARメガネ」はレンズ上のゴミを自動的に掃除? 新たな特許が取得される【Gadget Gate】
メガネを掛けている人であれば、レンズを拭くための布を肌身離さず持ち歩いていることだろう。すでにAR/VRヘッドセットやメガネ型デバイスは市販されているが、あらゆる「物理的なレンズを備えた機器」はホコリやゴミに悩まされ続けている。
アップルもメガネ型のARデバイス、通称「Apple Glass(アップルメガネ)」を開発中と噂されているが、同社がそうした機器が自動的にゴミやホコリを取り除くしくみの特許を取得したことが明らかとなった。
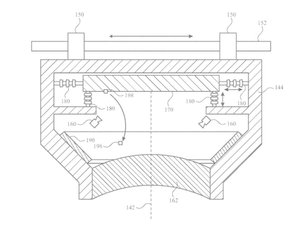
米特許商標庁(USPTO)が承認した特許「ヘッドマウント型デバイス(以下「HMD」)のパーティクル(小片や粒子)制御」は、アップルのいう「光学モジュール」自らがホコリや塵などを取り除く方法を論じている。
「光学モジュールによって提供される視野の品質は、画像のソースとユーザーの目の間の光路の透明度に依存する」「例えば、光学経路にある粒子(ホコリや破片、異物などの物質)は、ユーザーに提供される視野を妨害し、歪めるなどの悪影響を及ぼし得る」とのこと。平たく言えば、レンズにゴミが付いていると見えにくくなります、と当たり前のことを言っている。
そうした悪影響は「ディスプレイ要素が高解像度ディスプレイを含む場合(中略)ユーザーに送信される画像が本来意図された形態からかけ離れるように、ピクセル全体および/または複数のピクセルをブロックする可能性がある」ということで、高解像度つまり構成ピクセルが微細になるほど見過ごせなくなるとの趣旨が述べられている。
アップルいわく、この問題は「HMDの寿命が尽きるまで増え続ける」とのこと。たとえデバイスが「実質的に外部環境から全ての粒子の侵入を防止/制限するため密閉されている」場合でも起こりうるそうである。
アップルの解決策は、デバイスそのものがホコリを除去するよう働き「粒子を捕獲して、ユーザーの光学素子に対する視界を妨げないようにする」ことだ。
その方法は、1つには振動によるもの。つまりデバイス本体が振動することでホコリの粒子をふるい落とし、視界の外にある安全な場所に集めるというものだ。この振動はデバイス自体がトラブルを検出したとき、あるいは着用者が使用を選んだときに実施できる可能性が示されている。
アップルメガネ関連らしき特許は他にも出願されており、iPhoneやiPadでののぞき見を防止(それら機器の代わりにメガネ内に情報を表示)したり、レンズの度数を動的に変えられる特許出願も見つかっていた。これらはメガネ一般に便利そうな機能でもあり、アップルメガネ製品化に先がけて実用化を望みたいところだ。
Source:USPTO
via:AppleInsider
※テック/ガジェット系メディア「Gadget Gate」を近日中にローンチ予定です。本稿は、そのプレバージョンの記事として掲載しています。
アップルもメガネ型のARデバイス、通称「Apple Glass(アップルメガネ)」を開発中と噂されているが、同社がそうした機器が自動的にゴミやホコリを取り除くしくみの特許を取得したことが明らかとなった。
米特許商標庁(USPTO)が承認した特許「ヘッドマウント型デバイス(以下「HMD」)のパーティクル(小片や粒子)制御」は、アップルのいう「光学モジュール」自らがホコリや塵などを取り除く方法を論じている。
「光学モジュールによって提供される視野の品質は、画像のソースとユーザーの目の間の光路の透明度に依存する」「例えば、光学経路にある粒子(ホコリや破片、異物などの物質)は、ユーザーに提供される視野を妨害し、歪めるなどの悪影響を及ぼし得る」とのこと。平たく言えば、レンズにゴミが付いていると見えにくくなります、と当たり前のことを言っている。
そうした悪影響は「ディスプレイ要素が高解像度ディスプレイを含む場合(中略)ユーザーに送信される画像が本来意図された形態からかけ離れるように、ピクセル全体および/または複数のピクセルをブロックする可能性がある」ということで、高解像度つまり構成ピクセルが微細になるほど見過ごせなくなるとの趣旨が述べられている。
アップルいわく、この問題は「HMDの寿命が尽きるまで増え続ける」とのこと。たとえデバイスが「実質的に外部環境から全ての粒子の侵入を防止/制限するため密閉されている」場合でも起こりうるそうである。
アップルの解決策は、デバイスそのものがホコリを除去するよう働き「粒子を捕獲して、ユーザーの光学素子に対する視界を妨げないようにする」ことだ。
その方法は、1つには振動によるもの。つまりデバイス本体が振動することでホコリの粒子をふるい落とし、視界の外にある安全な場所に集めるというものだ。この振動はデバイス自体がトラブルを検出したとき、あるいは着用者が使用を選んだときに実施できる可能性が示されている。
アップルメガネ関連らしき特許は他にも出願されており、iPhoneやiPadでののぞき見を防止(それら機器の代わりにメガネ内に情報を表示)したり、レンズの度数を動的に変えられる特許出願も見つかっていた。これらはメガネ一般に便利そうな機能でもあり、アップルメガネ製品化に先がけて実用化を望みたいところだ。
Source:USPTO
via:AppleInsider
※テック/ガジェット系メディア「Gadget Gate」を近日中にローンチ予定です。本稿は、そのプレバージョンの記事として掲載しています。



